|
Руководство по применению в кровлях и гидроизоляции наплавляемых рулонных материалов "БИРЕПЛАСТ" и "АЙ-СИ-ТЕКС"
ОГЛАВЛЕНИЕ
1. Общие положения
2. Конструктивные решения кровли и гидроизоляции
2.1. Требования к применяемым материалам
2.2. Требования к основанию под кровлю и гидроизоляцию
2.3. Требования к изоляционным слоям
3. Устройство кровли и гидроизоляции
3.1. Подготовка основания под изоляционные слои
3.2. Устройство изоляционных слоев
4. Условия выполнения изоляционных слоев
1. Общие положения
1.1. Настоящее руководство распространяется на проектирование и устройство кровель и гидроизоляции зданий и сооружений различного назначения, выполняемых из наплавляемых рулонных материалов «БИРЕПЛАСТ» и «АЙ-СИ-ТЕКС», имеющих битумно–полимерные покровные слои и основу из стеклоткани (стеклохолста) или из синтетических волокон;материалы могут быть применены при ремонте кровель.
1.2. Уклоны кровель принимают в соответствии с нормами проектирования зданий и сооружений.
1.3. При проектировании и устройстве кровель и гидроизоляции с применением наплавляемых рулонных материалов кроме настоящих рекомендаций должны выполняться требования норм по проектированию, по технике безопасности в строительстве, действующих правил по охране труда и противопожарной безопасности.
1.4. Особое внимание уделяют устройству внутренних и наружных водостоков. Мест примыкания изоляционных слоев к выступающим над ними элементами, а также устройству гидроизоляции в местах пропуска через нее технологических трубопроводов и прохода деформационных швов в стенах, перекрытий и др.
1.5. Работы по устройству кровель должны выполняться специализированными бригадами под техническим руководством и контролем инженерно - технических работников.
К производству кровельных работ допускаются рабочие, прошедшие медицинский осмотр, обученные технике безопасности и методам ведения этих работ.
2. Конструктивные решения кровли и гидроизоляции
2.1. Требования к применяемым материалам>
2.1.1. Для устройства кровельного ковра и гидроизоляции применяют следующие материалы: наплавляемые рулонные материалы «БИРЕПЛАСТ» и «АЙ-СИ-ТЕКС» (ТУ 5774-025-18518973-2002 и ТУ 5774-008-18518973-2002). Показатели основных физико-механических свойств материалов «БИРЕПЛАСТ» и «АЙ-СИ-ТЕКС» приведены в табл. 1; каучуковая герметизирующая мастика «Ай-Си-Флекс», «Эластосил», УТ-32 и другие, (удовлетворяющие требованиям ГОСТ 25621-83) для герметизации мест примыкания кровельного водоизоляционного ковра;
2.1.2. На эксплуатируемых кровлях (крышах, террасах) в качестве разделительного слоя рекомендуется применять холст из синтетических волокон по ТУ 6-19-290-83.
2.1.3. Для компенсаторов деформационных швов, элементов наружных водостоков и отделки свесов карнизов применяют материалы в соответствии с требованиями СНиП II-26-76 или серии 1.010-1.
2.1.4. В инверсионных покрытиях в качестве теплоизоляции используют экструдированный пенополистирол по ТУ 2244-001-46261013-99.
2.2. Требования к основанию под кровлю и гидроизоляцию
2.2.1. Основанием под кровлю и гидроизоляцию могут служить:
- ровные поверхности железобетонных несущих плит либо теплоизоляции без устройств по ним выравнивающих стяжек (затирок),
- выравнивающая стяжка из цементно-песчаного раствора или асфальтобетона, которую назначают в соответствии с требованиями, приведенными в таблицах 2 и 3.
2.2.2. В местах примыкания кровель к стенам, шахтам и другим конструктивным элементам должны быть предусмотрены переходные наклонные бортики (под углом 45°), высотой не менее 100 мм из легкого бетона или цементно-песчаного раствора. Стены из кирпича или из блоков в этих местах должны быть оштукатурены цементно-песчаным раствором марки 50.
Таблица 1 Физико-механические свойства наплавляемых рулонных материалов
| «БИРЕПЛАСТ» |
| Наименование Марка | «Бирепласт Норма» | «Бирепласт Оптим» | «Бирепласт Терм» |
| Масса 1 м2/кг, в пределах | 2,5-5,5 |
| Теплостойкость при температуре, °С, не ниже | 85 | 80 | 100 |
| Гибкость на брусе радиусом 25 мм при температуре, °С, не выше | 0 | -5 | 0 |
| Температура хрупкости по Фраасу, °С, не выше | -15 | -20 | -15 |
| Водонепроницаемость, при 0,001 МПа в течение 72 часов | не протекает |
| Водопоглощение, %, не более | 2,0 |
Показатели пожароустойчивости: - воспламеняемость - распространение пламени | В2 РП3 |
| Разрывная нагрузка, Н (кгс), не менее | Основа: картон «О» 215 (22) стеклохолст «Х» 147 (15) стеклоткань «С» 343 (35) полиэфирное полотно «Э» 294 (30) каркасная стеклоткань «Т» 343 (35) |
Таблица 1 Физико-механические свойства наплавляемых рулонных материалов
| «АЙ-СИ-ТЕКС» |
| Наименование Марка | «Ай-Си-Текс Стандарт» | «Ай-Си-Текс Профи» |
| Масса 1 м2/кг, в пределах | 3,5 – 5,5 |
| Теплостойкость при температуре, °С, не ниже | 90 | 100 |
| Гибкость на брусе радиусом 25 мм при температуре, °С, не выше | -15 | -25 |
| Температура хрупкости по Фраасу, °С, не выше | -25 | -35 |
| Водонепроницаемость, при 0,001 МПа в течение 72 часов | не протекает |
| Водопоглощение, %, не более | 2,0 |
Показатели пожароустойчивости: - воспламеняемость - распространение пламени | В2 РП2 |
| Разрывная нагрузка, Н (кгс), не менее | Основа: стеклохолст «Х» 147 (15) стеклоткань «С» 343 (35) полиэфирное полотно «Э» 294 (30) каркасная стеклоткань «Т» 343 (35) |
«К» С крупнозернистой посыпкой – вермикулит различных фракций, гранитная крошка, галь асбестовая, сланец с одной стороны и плёнкой ПЭНД толщиной 7-8 мкм с другой для верхнего слоя кровельного ковра. Потеря посыпки не более 2,0 г/об.
«П» С пылевидной посыпкой или плёнкой с обеих сторон.
Толщина материала может быть задана от 3,0 до 5,0 мм с шагом 0,1 мм.
Таблица 2 Показатели свойств выравнивающих стяжек
| Наименование показателей | Основание под кровлю |
| из теплоизоляциоиных слоев монолитной укладки на основе вяжущего | из цементно-песчаного раствора | из песчаного асфальтобетона | из теплоизоляционных плит |
| цементного | битумного | по засыпной теплоизоляции | по теплоизоляционным плитам или теплоизоляции монолитной укладки | по железобетонным плитам |
| 1. Ровность | Плавно нарастающие неровности не более 10 мм по высоте между основанием иконтрольной рейкой длиной 2 м | Перепады по высоте не более 3 мм* у рядом расположенных плит |
| 2. Прочность на сжатие, МПа (кгс/см2), не менее | 0,6(6) | 0,15(1,5) | 10(100) | 5(50) | 5(50) | 0,8(8) | По ГОСТ или ТУ на плиты |
| 3. Влажность, % | ** | ** | 5 | 5 | 5 | 2,5 | По ГОСТ или ТУ на плиты |
| 4. Толщина, мм | *** | *** | 25-30 | 20-25 | 10-15 | 20-25 | *** |
| 5. Расстояние между температурно-усадочными швами, м, не более | **** | **** | 6 | **** | **** | 4 | **** |
* При большой разнице перепадов производят срезку выступов или подкладывают клинообразные пластины (либо выравнивают перепады цементным раствором, бетоном). ** Не выше предусмотренной главой СНиП по строительной теплотехнике. *** Толщину теплоизоляции принимают по расчёту. **** Температурно-усадочные швы выполняют над швами в несущих плитах. |
Таблица 3 Показатели свойств основания из цементно-песчаного раствора и асфальтобетона
| Наименование показателя, ед.измерения | Основание под гидроизоляцию |
| из цементно-песчаной | из асфальтобетона |
| затирки | стяжки |
| Прочность на сжатие, МПа (кгс/см2), не менее | 10(100) | 10(100) | 0,8(8) |
| Толщина, мм | 10 | 20 | 40 |
| Влажность, % | 5 | 5 | 3 |
| Примечание: В качестве основания под гидроизоляцию асфальтобетон допускается на горизонтальных и наклонныхповерхностях. |
2.3. Требования к изоляционным слоям
2.3.1. Конструкция кровельного ковра зависит от уклона и типа покрытия (см. табл. 4).
В новом покрытии или при его реконструкции (при капитальном ремонте с заменой теплоизоляции) кровельный ковер выполняют из двух слоев наплавляемого рулонного материала, причем для верхнего слоя применяют материалы с крупнозернистой посыпкой.
На эксплуатируемых покрытиях (крышах, террасах) кровельный ковер выполняют из двух слоев наплавляемого рулонного материала, имеющих мелкозернистую (тальковую) посыпку либо полиэтиленовую пленку.
2.3.2. При ремонте существующей (старой) кровли без замены теплоизоляции кровельный ковер выполняют из двух слоев наплавляемого рулонного материала. При этом целесообразность сохранения теплоизоляции устанавливают при детальном обследовании ограждающей части покрытия (при необходимости с отбором проб слоев для определения их состояния, в т.ч. влажности теплоизоляции). Для выравнивания упругости водяных паров внутри покрытия с наружным воздухом могут быть применены вентиляционные патрубки (рис. 1).
Примечания: 1. Допускается сочетание в кровельном ковре «БИРЕПЛАСТа» и «АЙ-СИ-ТЕКСа» с другими наплавляемыми рулонными материалами.
2. Ремонт кровельного ковра может быть выполнен из одного слоя наплавляемого рулонного материала в зависимости от состояния «старой» кровли, которое определяется в процессе ее обследования.

Рис. 1. Вентиляционный патрубок:
- 1 - сборная железобетонная плита;
- 2 - пароизоляция (по расчету);
- 3 - теплоизоляция;
- 4 - выравнивающая стяжка;
- 5 - основной кровельный ковер,
- 6 - дополнительные слои кровельного ковра;
- 7 - герметизирующая мастика;
- 8 - патрубок;
- 9 - засыпной утеплитель.
Таблица 4 Конструктивные решения кровли
| Уклон, % | Вид строительства и тип покрытия | Схема кровельного ковра |
| 1,5...10 | 1. Новое строительство или капремонт с заменой теплоизоляции
 |  |
| 1,5...3 |  |  |
| 1,5...10 | 2. Ремонт существующей (старой) кровли без замены теплоизоляции
 |  |
Условные обозначения:
- 1 - профнастил;
- 2 - пароизоляция;
- 3 - плитный утеплитель;
- 4 - сборная стяжка (см. табл. 2);
- 5 - кровельный ковер из наплавляемого рулонного материала;
- 6 - железобетонная плита;
- 7 - монолитный утеплитель (см. табл. 2);
- 8 - выравнивающая стяжка (см. табл. 3);
- 9 - разделительный слой;
- 10 - защитный слой их цементно-песчаного раствора или асфальтобетона;
- 11 - плитки на цементно-песчаном растворе;
- 12 - существующая (старая) кровля;
- 13 - крупнозернистая посыпка на верхнем слое наплавляемого рулонного материала;
- 14 - грунтовка;
- 15 - экструдированный пенополистирол;
- 16 - пригруз из гравия.
2.3.3. В местах перепадов высот кровель, примыканий изоляционных слоев к парапетам, стенам, бортам фонарей, в местах пропуска труб и др. предусматривают дополнительные изоляционные слои.
2.3.4. При устройстве кровли на покрытии пожарно-взрывоопасного здания допускается «БИРЕПЛАСТ» и «АЙ-СИ-ТЕКС»" - наклеивать на битумных мастиках. При этом теплостойкость мастики принимают согласно СНиП II-26-76.
2.3.5. Для предохранения оклеечной гидроизоляции от механических повреждений и оползней она должна быть защищена и зажата защитной конструкцией из бетона, железобетона, кирпича и т.д.
Примечание: Допускается применять в качестве защитного ограждения оклеечной гидроизоляции гофрированную пленку из поливинилхлорида или полиэтилена высокой плотности толщиной 1,0-1,5 мм, прочностью на растяжение — не менее 10 (100) МПа (кг/см2) и относительным удлинением — не менее 50 %.
2.3.6. Конструктивные решения гидроизоляции (тип основания и защитной конструкции) зависит от подготовки под гидроизоляцию (см. табл. 5).
2.3.7. Гидроизоляцию предусматривают, как правило, по наружной поверхности конструкции со стороны воздействия воды и высотой выше максимального уровня грунтовых вод не менее чем на 0,5 м; при гидроизоляции со стороны, противоположной напору воды (работа на отрыв) необходимо предусматривать прижимные противонапорные конструкции.
Количество гидроизоляционных слоев зависит от гидростатического напора и принимают по табл. 6.
2.3.8. Область применения оклеечной гидроизоляции устанавливают по табл. 7 в зависимости от изолируемой конструкции и ее трещиностойкости.
3. Устройство кровли и гидроизоляции
Для начала изоляционных работ должны быть выполнены и приняты:
все строительно-монтажные работы на изолируемых участках, включая замоноличивание швов между сборными железобетонными плитами, установку и закрепление к несущим плитам или к стальным профилированным настилам водосточных воронок, компенсаторов деформационных швов, патрубков (или стаканов) для пропуска инженерного оборудования, анкерных болтов, антисептированных деревянных брусков (или реек) для закрепления изоляционных слоев и защитных фартуков;
слои паро- и теплоизоляции;
основание под кровлю на всех поверхностях, включая карнизные участки кровель и места примыканий к выступающим над кровлей конструктивным элементам;
на покрытии зданий с металлическим профилированном настилом и теплоизоляционным материалом из сгораемых и трудносгораемых материалов должны быть заполнены пустоты ребер настилов на длину 250 мм несгораемыми материалами в местах примыканий настила к стенам, деформационным швам, стенкам фонарей, а также с каждой стороны конька кровли и ендовы.
3.1. Подготовка основания под изоляционные слои
3.1.1. Все поверхности оснований из железобетона, бетона и штукатурка из цементно-песчаного раствора должны быть огрунтованы составом из битума БН 90/10 и керосина (праймером), приготовленного в соотношении (по весу) 1:3.
Расход грунтовки составляет 0,3 - 0,5 кг/м2.
Таблица 5 Конструктивные решения гидроизоляции
| Среда | Схема гидроизоляции | Условные обозначения |
| 1. Неагрессивная |  | 1 - подготовка из бетона; 2 - цементная стяжка М 100; 3 - грунтовка; 4 - оклеенная гидроизоляция; 5 - защитная стяжка из цементного раствора М 100; 6 - изолируемая конструкция; 7 - затирка цементным раствором М 100-10мм; 8 - защитная стенка (кирпич75 на растворе М 50 толщиной120мм, бетонные блоки толщиной - 300мм или а. ц. листы — 8 мм); 9 - уплотненный асфальтобетон; 10 - щебеночная подготовка |
| 2. Агрессивная |  |
Таблица 6 Конструкции гидроизоляционного ковра
| Гидростатический напор, м | Количество изоляционных слоев | Толщина гидроизоляции, мм |
| 2...5 | Один слой наплавляемого рулонного материала | 3...4 |
| 10...20 | Два слоя наплавляемого рулонного материала | 6...8 |
| 30 | Три слоя наплавляемого рулонного материала | 9...12 |
Таблица 7 Область применения оклеечной гидроизоляции из наплавляемых рулонных материалов
| Изолируемые помещения здания, сооружения, конструкции и их элементы | Категории трещиностойкости изолируемой конструкции (см. серию 1.010-1) |
| 1 | 2 | 3 |
| 1.Подвалы зданий, заглубленные и полузаглубленные помещения, возводимые открытым способом | Стены Подошва Перекрытия | +++ | +++ | +++ |
| 2. Опускные колодцы | Стены Днища | -+ | -+ | -+ |
| 3. Емкостные сооружения, (бассейны, резервуары, лотки, отстойки и т.д.) | Стены Днища Перекрытия | +++ | +++ | +++ |
3.1.2. В стяжках на покрытиях зданий и сооружений выполняют температурно-усадочные швы шириной 5-10 мм, разделяющие стяжку из цементно-песчаного раствора на участки не более 6х6 м, а из песчаного асфальтобетона - не более 4х4 м. Швы должны располагаться над швами несущих плит (в холодных покрытиях) и над температурно-усадочными швами в монолитной теплоизоляции. По ним укладывают полоски шириной 150-200 мм из материала с крупнозернистой посыпкой и приклеивают их точечно с одной стороны шва.
3.1.3. При устройстве выравнивающей стяжки из цементно-песчаного раствора укладку последнего производят полосами шириной не более 3 м ограниченными рейками, которые служат маяками. Раствор подают к месту укладки по трубопроводам при помощи растворонасосов или в емкостях на колесном ходу. Разравнивают цементно-песчаную смесь правилом из металлического уголка, передвигаемым по рейкам.
3.1.4. После или в процессе высыхания (через 8-10 суток после укладки) стяжки ее грунтуют (см. п. 3.1.1.); грунтовку наносят при помощи окрасочного распылителя, либо кистями (при малых объемах работ).
3.1.5. При устройстве выравнивающей стяжки из литого асфальта его укладывают полосами шириной до 2 м (ограниченными двумя рейками или одной рейкой и полосой ранее уложенного асфальта) и уплотняют валиком или катком весом 60-80 кг.
3.1.6. Перед выполнением монолитной теплоизоляции на цементном вяжущем производят нивелировку поверхности несущих плит для установки маяков, служащих основанием под рейки для укладки бетонной массы полосами на необходимую высоту.
3.1.7. Теплоизоляционные работы совмещают с работами по устройству пароизоляционного слоя (если он требуется по проекту), выполняя их «на себя». Это повышает сохранность теплоизоляции при транспортировании материалов.
3.1.8. Теплоизоляционные плиты должны плотно прилегать друг к другу. Если ширина швов между плитами превышает 5мм, то их заполняют теплоизоляционным материалом.
3.1.9. Замоченная во время монтажа теплоизоляция должна быть удалена и заменена сухой.
3.1.10. Теплоизоляционные работы не должны опережать работы по устройству нижнего слоя кровли. Как правило, их последовательность должна обеспечивать устройство нижнего слоя кровельного ковра в ту же смену, что и укладка теплоизоляционных плит.
Перед устройством изоляционных слоев основание должно быть сухим, обеспыленным, на нем не допускаются уступы. Борозды и другие неровности. Требования к ровности основания приведены в таблице 2.
3.2. Устройство изоляционных слоев
3.2.1. Устройство кровельного ковра в пределах рабочих захваток начинают с пониженных участков: карнизных свесов и участков расположения водосточных воронок (ендов).
3.2.2. При наклейке изоляционных слоев из рулонных материалов следует предусматривать нахлестку смежных полотнищ на 80-100 мм.
3.2.3. Технологические приемы наклейки наплавляемого рулонного материала выполняют в следующей последовательности.
На подготовленное основание железобетонных плит раскатывают 5-7 рулонов, примеряют один рулон по отношению к другому и обеспечивают необходимый нахлест. Затем приклеивают концы всех рулонов с одной стороны и полотнища рулонного материала обратно скатывают в рулоны (при значительном охлаждении полотнищ в зимний период эти операции производят при легком подогреве ручной горелкой наружной поверхности рулона).
Разогревая покровный (приклеивающийся) слой наплавляемого рулонного материала с одновременным подогревом основания или поверхности ранее наклеенного изоляционного слоя, рулон раскатывают, плотно прижимают к основанию.
3.2.4. У мест примыкании к стенам, парапетам и т.п. кровельные рулонные материалы наклеивают полотнищами длиной 2-2,5 м. Наклейку полотнищ из наплавляемых рулонных материалов на вертикальные поверхности производят снизу вверх при помощи ручной горелки.
3.2.5. В местах примыкания кровли к парапетам высотой до 450 мм слои дополнительного ковра заводят на верхнюю грань парапета, затем примыкание отделывают оцинкованной кровельной сталью (рис. 2 и 3), которую закрепляют при помощи костылей. При пониженном расположении парапетных стеновых панелей (при высоте парапета не более 200 мм) наклонный переходный бортик устраивают из бетона до верха панелей.
При устройстве кровли с повышенным расположением верхней части парапетных панелей (более 450 мм) защитный фартук с кровельным ковром закрепляют пристрелкой дюбелями, а отделку верхней части парапета выполняют из кровельной стали, закрепляемой костылями (рис.4) или из парапетных плиток, швы между которыми герметизируют.
3.2.6. Раскладка и раскрой полотнищ наплавляемого рулонного материала при устройстве основного и дополнительного кровельного ковра в углу парапета приведены на рис. 5 и 6.
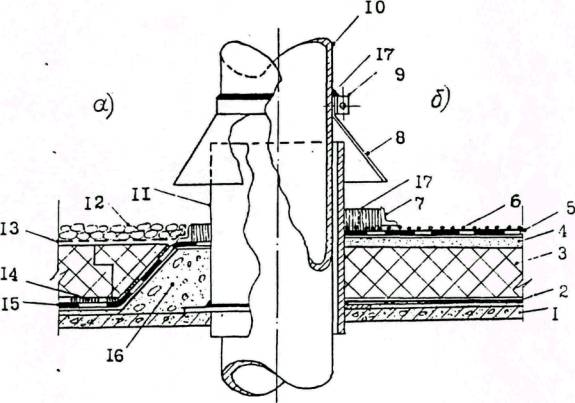
3.2.7. Конек кровли (при уклоне 3% и более) усиливают на ширину 150-250 мм с каждой стороны, а ендову - на ширину 500-700мм (от линии перегиба) одним слоем рулонного материала, приклеиваемого к основанию под кровельный ковер по продольным кромкам (рис. 7 и 8).
3.2.8. Места пропуска через кровлю труб выполняют с применением стальных патрубков с фланцами (или железобетонных стаканов) и герметизацией кровли в этом месте (рис. 9). Места пропуска анкеров также усиливают герметизирующей мастикой. Для этого устанавливают рамку из уголков (которая ограничивает растекание мастики), а пространство между рамкой и патрубком или анкером заполняют мастикой (рис. 10).

Рис. 2. Примыкание кровли к парапету высотой до 450 мм
- 1 - сборная железобетонная плита покрытия;
- 2 - пароизоляция (по расчету);
- 3 - теплоизоляция;
- 4 - выравнивающая стяжка;
- 5 - основной кровельный ковер;
- 6 - крупнозернистая посыпка верхнего слоя наплавляемого рулонного материала;
- 7 - дополнительные слои кровельного материала;
- 8 - дюбели;
- 9 - костыли 40х4 через600 мм;
- 10 - оцинкованная кровельная сталь;
- 11 - стена;
- 12 - грунтовка.

Рис. 3. Примыкание инверсионного покрытия к парапету высотой до 450 мм
- 1 - сборная железобетонная плита покрытия;
- 2 - основной кровельный ковер из наплавляемых рулонных материалов или из полимерной пленки;
- 3 - теплоизоляция из экструдированного пенополистирола;
- 4 - предохранительный (фильтрующий) слой;
- 5 - пригруз из гравия;
- 6 - дополнительные два слоя из наплавляемого рулонного материала (или один слой из полимерной пленки);
- 7 - точечная приклейка теплоизоляции;
- 8 - легкий бетон;
- 9 - костыли 40х4мм через 600 мм;
- 10 - дюбели;
- 11 - оцинкованная кровельная сталь;
- 12 - стена;
- 13 - грунтовка.

Рис. 4. Примыкание кровли к парапету высотой более 450 мм а) традиционного, б) инверсионного покрытий
- 1 - сборная железобетонная плита покрытия;
- 2 - пароизоляция (по расчету);
- 3 - теплоизоляция;
- 4 - выравнивающая стяжка;
- 5 - основной кровельный ковер;
- 6 - крупнозернистая посыпка верхнего слоя наплавляемого рулонного материала;
- 7 - дополнительные слои кровельного ковра;
- 8 - воронка внутреннего водостока;
- 9 - фартук;
- 10 - герметизирующая мастика;
- 11 - дюбели;
- 12 - оцинкованная кровельная сталь;
- 13 - костыли 40х4 мм через 600 мм;
- 14 - стена;
- 15 - предохранительный (фильтрующий) слой;
- 16 - пригруз из гравия;
- 17 - грунтовка.

Рис. 5. Раскладка и раскрой полотнищ наплавляемого рулонного материала (а - нижнего слоя;б - верхнего слоя) при устройстве основного кровельного ковра в углу парапета
- 1 - парапет;
- 2 - нижний слой ковра;
- 3 - нахлестка полотнищ нижнего слоя;
- 4 - наклонный переходный бортик;
- 5 - верхний слой ковра (с крупнозернистой посыпкой);
- 6 - нахлестка полотнищ верхнего слоя.


Рис. 6. Раскладка и раскрой полотнищ наплавляемого рулонного материала при устройстве дополнительного кровельного ковра в углу парапета
- 1 - парапет;
- 2 - основной кровельный ковер;
- 3 - переходный наклонный бортик;
- 4 - нижний слой дополнительного ковра;
- 5 - верхний слой (с крупнозернистой посыпкой) дополнительного ковра.


б)
Рис. 7. Конек кровли а) традиционного, б) инверсионного покрытия:
- 1 - железобетонная плита покрытия;
- 2 - пароизоляция;
- 3 - теплоизоляция;
- 4 - цементно-песчаная стяжка;
- 5 - основной кровельный ковер;
- 6 - крупнозернистая посыпка верхнего слоя наплавляемого рулонного материала;
- 7 - дополнительный слой кровли;
- 8 - бетон;
- 9 - грунтовка;
- 10 - предохранительный (фильтрующий) слой;
- 11 - пригруз из гравия.

Рис. 8. Ендова кровлиа) традиционного, б) инверсионного покрытий:
- 1 - железобетонная плита;
- 2 - пароизоляция;
- 3 - теплоизоляция;
- 4 - цементно-песчаная стяжка;
- 5 - дополнительный слой кровли, приклеенный по продольным кромкам;
- 6 - основной кровельный ковер;
- 7 - крупнозернистая посыпка верхнего слоя наплавляемого рулонного материала;
- 8 - воронка внутреннего водостока;
- 9 - грунтовка;
- 10 - легкий бетон;
- 11 - предохранительный (фильтрующий) слой;
- 12 - пригруз из гравия.

Рис. 9. Примыкание кровли к трубе а) в инверсионном покрытии, б) в покрытии с кровлей по утеплителю:
- 1 - сборная железобетонная плита покрытия;
- 2 - пароизоляция;
- 3 - теплоизоляция;
- 4 - выравнивающая стяжка;
- 5 - основной кровельный ковер;
- 6 - крупнозернистая посыпка;
- 7 - рамка из уголка;
- 8 - зонт;
- 9 - хомут;
- 10 - труба;
- 11 - патрубок с фланцем;
- 12 - пригруз из гравия;
- 13 - предохранительный (фильтрующий) слой из синтетического холста;
- 14 - точечная приклейка теплоизоляции;
- 15 - основной кровельный ковер;
- 16 - легкий бетон;
- 17 - герметизирующая мастика.

Рис. 10. Пропуск анкера через кровельный ковер
- 1 - сборная железобетонная плита покрытия;
- 2 - пароизоляция (по расчету);
- 3 - теплоизоляция;
- 4 - выравнивающая стяжка;
- 5 - основной кровельный ковер;
- 6 - крупнозернистая посыпка верхнего слоя наплавляемого рулонного материала;
- 7 - рамка из уголка;
- 8 - герметизирующая мастика;
- 9 - анкер.
3.2.9. В деформационном шве с металлическим компенсатором перед устройством кровельного ковра на компенсатор наклеивают сжимаемый утеплитель из минеральной ваты и на него укладывают выкружку из оцинкованной кровельной стали, кромки которой опираются на бетонные бортики, затем на выкружку насухо укладывают стеклоткань и«БИРЕПЛАСТ» или «АЙ-СИ-ТЕКС» (рис.11)
3.2.10. Раскладка и раскрой полотнищ наплавляемого рулонного материала при устройстве основного и дополнительного кровельного ковра на поверхности внешнего угла
(например, вентшахты) приведены на рис 12.
3.2.11. В местах пропуска через покрытие воронки внутреннего водостока слои кровельного ковра должны заходить на водоприемную чашу, которую крепят к плитам покрытия хомутом с уплотнителем из резины (рис. 13)
3.2.12. Технологические приемы устройства кровельного ковра методом свободной укладки нижнего слоя с механическим закреплением выполняют в следующей последовательности (рис. 14).
На подготовленное основание под кровлю раскатывают рулоны, примеряют один рулон по отношению к другому и обеспечивают нахлестку (продольную и поперечную) не менее 100 мм (см. рис. 14а).
Затем полотнище рулонного материала (кроме полотнища, раскатанного вдоль линии водораздела) обратно скатывают в рулоны (при значительном охлаждении полотнищ зимой эти операции производят при легком подогреве ручной горелкой поверхности рулона).


Рис. 11. Деформационный шов в покрытии а) традиционном, б) инверсионном;
- 1 - сборная железобетонная плита покрытия;
- 2 - пароизоляция;
- 3 - теплоизоляция;
- 4 - выравнивающая стяжка;
- 5 - основной кровельный ковер;
- 6 - «БИРЕПЛАСТ» или «АЙ-СИ-ТЕКС» уложенные насухо;
- 7 - стеклоткань;
- 8 – оцинкованная кровельная сталь;
- 9 - компенсатор;
- 10 - утеплитель (минеральная вата);
- 11 - бортик из легкого бетона;
- 12 - грунтовка;
- 13 - предохранительный (фильтрующий) слой;
- 14 – пригруз из гравия.

Рис. 12. Раскладка и раскрой полотнищ наплавляемого рулонного материала при устройстве кровельного ковра (а и б — основного, в и г — дополнительного) на поверхности внешнего угла, например: вентшахты
- 1 - стены вентшахты;
- 2 - нижний слой основного кровельного ковра;
- 3 - верхний слой (с крупнозернистой посыпкой) основного ковра;
- 4 - наклонный бортик;
- 5 - основной кровельный ковер;
- 6 - нижний слой дополнительного ковра;
- 7 - верхний слой (с крупнозернистой посыпкой) дополнительного ковра.

Рис. 13. Воронка внутреннего водостока
- 1 - сборная железобетонная плита покрытия;
- 2 - пароизоляция (по расчету);
- 3 - теплоизоляция;
- 4 - выравнивающая стяжка;
- 5 - основной кровельный ковер;
- 6 - дополнительный слой кровельного ковра;
- 7 - крупнозернистая посыпка верхнего слоя наплавляемого рулонного материала;
- 8 - колпак водоприемной воронки;
- 9 - легкий бетон выравнивающего слоя ендовы;
- 10 - водоприемная чаша;
- 11 - уплотнитель.

Рис. 14. Пример раскладки рулонных материалов при устройстве кровельного ковра с механическим закреплением нижнего слоя
- 1 - переходный наклонный бортик (см. рис. 2);
- 2 - линия водораздела;
- 3 - основание под кровлю;
- 4 - нижний слой кровельного ковра;
- 5 - шайбы с дюбелями;
- 6 - наклейка швов в местах нахлесток;
- 7 - верхний (второй) слой кровельного ковра.
Полотнище рулонного материала вдоль линии водораздела закрепляют (см. рис. 14 б) шайбами с дюбелями, затем, разогревая покровный (приклеивающий) слой наплавляемого рулонного материала в месте нахлестки (см. рис, 14в), рулон раскатывают, плотно прижимая к ранее уложенному полотнищу. После этого свободную кромку раскатанного полотнища закрепляют шайбами с дюбелями.
Верхний (второй) слой наплавляемого рулонного материала приклеивают сплошь, при этом полотнища раскатывают так, чтобы они перекрывали швы нижележащего слоя (см. рис. 14 г).
3.2.13. У мест примыкания к стенам, парапетам и т.п. наклейку нижнего полотнища дополнительного ковра производят только в местах сопряжения с основным кровельным ковром (см. рис. 15 и 16).
3.2.14. При выполнении гидроизоляционных слоев на вертикальных и наклонных (более 25°) поверхностях применяют полотнища материала длиной 1,5-2 м. При значительной высоте изолируемой поверхности наклейку рулонного материала производят ярусами, начиная с нижнего.
Для закрепления гидроизоляционных слоев на каждом ярусе предусматривают установку деревянных антисептированных реек по высоте через каждые 1,5—2м, т.е. по высоте рабочих захваток.
3.2.15. В местах перехода гидроизоляционных слоев с горизонтальной поверхности на вертикальную изоляционные слои на горизонтальной (наклонной) поверхности заводят на наклонные бортики и перекрывают изоляционными слоями на вертикальной поверхности (рис. 17).
3.2.16. В стенах подвала гидроизоляционные слои устраивают, как правило, начиная от нижней горизонтальной гидроизоляции в стенах до такой же верхней горизонтальной гидроизоляции, с которыми должны сопрягаться гидроизоляционные вертикальные слои стены. Аналогично защищают фундаменты под оборудование.
3.2.17. Деформационные швы в конструкциях при отсутствии гидростатического напора перекрывают слоями гидроизоляции и одной или двумя прокладками из тонколистового металла и усиливают дополнительными слоями гидроизоляции, а при гидростатическом напоре и значительных деформациях в конструкции шва предусматривают металлический компенсатор (см. серию 1.010-1).
3.2.18. В местах примыкания гидроизоляции к трубам, анкерам и т.п. предусматривают защемление слоев гидроизоляции при помощи анкерных болтов и металлических накладок.
4. Условия выполнения изоляционных слоев
4.1. Кровельщики должны выполнять работы в спецодежде, применять индивидуальные средства защиты. В зоне, где производятся кровельные работы, находиться посторонним лицам запрещается.
4.2. Приклеивающие составы и растворители, а также их испарения содержат нефтяные дистилляты и поэтому являются огнеопасными материалами. Не допускается вдыхание их паров, курение и выполнение кровельных работ вблизи огня или на закрытых и невентилируемых участках. В случае загорания этих материалов необходимо использовать (при тушении огня) углекислотный огнетушитель и песок. Водой пользоваться запрещается.
4.3. Не следует допускать контакта кровельных материалов с растворителями, нефтью, маслом, животным жиром и т.п.
4.4. Работы по устройству тепло- и гидроизоляции покрытий допускается производить при температуре наружного воздуха до минус 20°С и при отсутствии снегопада, гололеда и дождя.
4.5. Все материалы должны храниться при температурах от +5 до +25°С.
Если материалы подвергаются длительному воздействию температуры ниже 15°С, то перед применением их необходимо выдержать в течение 24-х часов при температуре от +15 до +25°С.

Рис. 15. Примыкание кровли к парапету высотой до 450 мм
- 1 - сборная железобетонная плита;
- 2 - пароизоляция (по расчету);
- 3 - теплоизоляция;
- 4 - выравнивающая стяжка;
- 5 - механически закрепляемый нижний слой основного кровельного ковра;
- 6 - верхний слой основного кровельного ковра;
- 7 - крупнозернистая посыпка верхнего слоя ковра;
- 8 - шайбы с дюбелями;
- 9 - слои дополнительного кровельного ковра;
- 10 - наклонный бортик;
- 11 - оцинкованная кровельная сталь;
- 12 - костыли 40х4 через 600 мм;
- 13 - дюбели;
- 14 - стена.

Рис. 16. Примыкание кровли к парапету высотой более 450 мм
- 1 - сборная железобетонная плита;
- 2 - пароизоляция (по расчету);
- 3 - теплоизоляция;
- 4 - выравнивающая стяжка;
- 5 - механически закрепляемый нижний слой основного кровельного ковра;
- 6 - верхний слой основного кровельного ковра;
- 7 - крупнозернистая посыпка верхнего слоя ковра;
- 8 - шайбы с дюбелями;
- 9 - слои дополнительного кровельного ковра;
- 10 - воронка внутреннего водостока;
- 11 - оцинкованная кровельная сталь;
- 12 - дюбели;
- 13 - герметизирующая мастика;
- 14 - костыли 40х4 через 600мм;
- 15 - стена.

Рис. 17. Сопряжение гидроизоляции горизонтальной (наклонной) и вертикальной поверхностей
- 1 - бетонная подготовка;
- 2 - гидроизоляция горизонтальной поверхности;
- 3 - цементно-песчаная стяжка (штукатурка);
- 4 - железобетонная конструкция;
- 5 - оцинкованная сталь или стальная сетка (ячейки 5х5 мм);
- 6 - гидроизоляция вертикальной поверхности;
- 7 - наклонный бортик;
- 8 - защитная стенка.
4.6. Растворители и герметизирующие составы должны храниться в герметично закрытой таре с соблюдением правил хранения легковоспламеняющихся материалов.
Порожнюю тару из-под этих материалов следует хранить на специально отведенной площадке, удаленной от места работы.
Электрооборудование в складских помещениях должно быть взрывозащитного исполнения.
4.7. При ремонте кровли снимаемый горючий материал должен удаляться на специально подготовленную площадку. Устраивать свалки горючих отходов на территории строительства не разрешается.
4.8. При производстве работ по устройству покрытия площадью 1000 м2 и более с применением горючего или трудно горючего утеплителя на кровле для целей пожаротушения следует предусматривать устройство временного противопожарного водопровода. Расстояние между пожарными кранами следует принимать из условия подачи воды в любую точку кровли не менее чем двумя струями с расходом 5 л/с каждая.
4.9. По окончании рабочей смены не разрешается оставлять неиспользованный горючий утеплитель и кровельные рулонные материалы внутри или на покрытиях зданий, а также в противопожарных разрывах.
4.10. Выполнение работ по устройству кровель одновременно с другими строительно-монтажными работами на кровлях, связанными с применением открытого огня (сварка и т.п.) не допускается.
4.11. До начала производства работ на покрытиях должны быть выполнены все предусмотренные проектом ограждения и выходы на покрытие зданий (из лестничных клеток, по наружным лестницам).
4.12. Противопожарные двери и люки выходов на покрытие должны быть исправны и при проведении работ закрыты. Запирать их на замки или другие запоры запрещается.
Проходы и подступы к эвакуационным выходам и стационарным пожарным лестницам должны быть всегда свободными.
4.13. Оборудование, используемое для подогрева наплавляемого рулонного кровельного материала (газовые горелки с баллонами и оборудованием) не допускается использовать с неисправностями, способными привести к пожару, а также при отключенных контрольно-измерительных приборах и технологической автоматике, обеспечивающих контроль заданных режимов температуры, давления и других, регламентированных условиями безопасности, параметров.
4.14. При использовании оборудования для подогрева запрещается:
- отогревать замерзшие трубопроводы, вентили, редукторы и другие детали газовых установок открытым огнем или раскаленными предметами;
- пользоваться шлангами, длина которых превышает 30 м;
- перекручивать, заламывать или зажимать газопроводящие шланги;
- использовать одежду и рукавицы со следами масел, жиров, бензина, керосина и других горючих жидкостей;
- производить ремонт и другие работы на оборудовании и коммуникациях, заполненных горючими веществами;
- допускать к самостоятельной работе учеников, а также работников, не имеющих квалификационного удостоверения и талона по технике безопасности.
4.15. Хранение и транспортирование баллонов с газами должно осуществляться только с навинченными на их горловины предохранительными колпаками. При транспортировании баллонов нельзя допускать толчков и ударов. К месту сварочных работ баллоны должны доставляться на специальных тележках, носилках, санках. Переноска баллонов на плечах и руках запрещается.
4.16. Баллоны с газом при их хранении, транспортировании и эксплуатации должны быть защищены от действия солнечных лучей и других источников тепла.
Расстояние от горелок (по горизонтали) до отдельных баллонов с горючим газом должно быть не менее 5 м.
4.17. При обращении с порожними баллонами из-под горючих газов должны соблюдаться такие же меры безопасности, как и с наполненными баллонами.
4.18. При перерывах в работе, а также в конце рабочей смены оборудование для нагрева кровельного материала должно отключаться, шланги должны быть отсоединены и освобождены от газов и паров горючих жидкостей.
По окончании работ вся аппаратура и оборудование должны быть убраны в специально отведенные помещения (места).
4.19. Кровельный материал, горючий утеплитель и другие горючие вещества, и материалы, используемые при работе необходимо хранить вне строящегося или ремонтируемого здания в отдельно стоящем сооружении или на специальной площадке на расстоянии не менее 18 м от строящихся и временных зданий, сооружений и складов.
4.20. На кровле и у мест проведения гидроизоляционных работ в помещениях допускается хранить не более одной сменной потребности расходных (кровельных или гидроизоляционных) материалов. Запас материалов должен находиться на расстоянии не менее 5 метров от границы зоны выполнения работ.
4.21. У мест проведения работ допускается размещать только баллоны с горючими газами, непосредственно используемые при работе. Создавать запас баллонов или хранить пустые баллоны у мест проведения работ не допускается.
4.22. Складирование материалов и установка баллонов на кровле и в помещениях ближе 5 м от эвакуационных выходов (в том числе подходов к наружным пожарным лестницам) не допускается.
Горючий утеплитель необходимо хранить вне строящегося здания в отдельно стоящем сооружении или на специальной площадке на расстоянии не менее 18 м от строящихся и временных зданий, сооружений и складов.
4.23. Емкости с горючими жидкостями следует открывать только перед использованием, а по окончании работы закрывать и сдавать на склад. Тара из-под горючих жидкостей должна храниться в специально отведенном месте вне мест проведения работ.
4.24. Баллоны с горючими газами и емкости с легковоспламеняющимися жидкостями должны храниться раздельно, в специально приспособленных вентилируемых вагончиках (помещениях) или под навесами за сетчатым ограждением, недоступном для посторонних лиц.
Хранение в одном помещении баллонов, а также битума, растворителей и других горючих жидкостей не допускается.
4.25. При хранении на открытых площадках наплавляемого кровельного материала, битума, горючих утеплителей и других строительных материалов, а также оборудования и грузов в горючей упаковке они должны размещаться в штабелях или группами площадью не более 100 м2. Разрывы между штабелями (группами) и от них до строящихся или подсобных зданий и сооружений, надлежит принимать не менее 24 м.
4.26. По окончании рабочей смены не разрешается оставлять кровельные рулонные материалы, горючий утеплитель, газовые баллоны и другие горючие и взрывоопасные вещества и материалы внутри или на покрытиях зданий, а также в противопожарных разрывах.
4.27. При обнаружении пожара или признаков горения (задымление, запах гари, повышение температуры и т.п.) необходимо:
немедленно об этом сообщить в пожарную охрану;
принять по возможности меры по эвакуации людей, тушению пожара и обеспечению сохранности материальных ценностей.
4.28. Для обеспечения успешного тушения пожара необходимо обучить работников правилам и способам работы с первичными средствами пожаротушения.
4.29. По окончании работ необходимо провести осмотр рабочих мест и привести их в пожаро-взрывобезопасное состояние.
4.30. На объекте должно быть определено лицо, ответственное за сохранность и готовность к действию первичных средств пожаротушения.
4.31. Огнетушители должны всегда содержаться в исправном состоянии, периодически осматриваться и своевременно перезаряжаться.
4.32. Использование первичных средств пожаротушения для хозяйственных и прочих нужд, не связанных с тушением пожара, не допускается.
4.33. При расстановке огнетушителей необходимо выполнять условие, что расстояние от возможного очага пожара до места размещения огнетушителя не должно превышать 20 м.
4.34. В зимнее время (при температуре ниже 1°С) огнетушители необходимо хранить в отапливаемых помещениях, на дверях которых должна быть надпись «Огнетушители».
|